狹縫光闌
狹縫光闌
實體廠家,非標訂制,一件起訂,134-7367-2973 微信同號
以下參數,僅供參考!!!更多詳情,請咨詢:134-7367-2973 微信同號
X射光束檢測
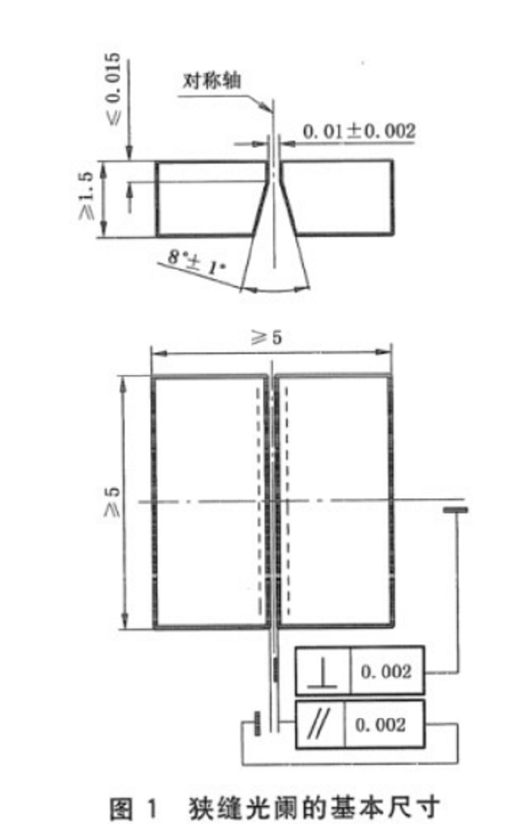
標 準: 符合 YY/T 0063-2007 (IEC60336:2005) 醫用電氣設備醫用診斷X射線管組件焦點特性”中5.2.1狹縫照相機光闌的要求 應用范圍: 拍攝焦點狹縫射線照片用的工具,焦點狹縫射線照片用來測定焦點尺寸,由此照片可推算出線擴散函數。



上一篇:成人軀干模體
下一篇:大鼠模體 rat phantom





